寫稿
投稿
福特申請氫燃料內燃機專利
作者:官方
來源:蓋世汽車
所屬欄目:科技創新
發布時間:2022-03-21 17:45
[ 導讀 ]據外國媒體報道,福特為氫燃料內燃機向美國專利商標局提交了一項專利。標準氫動力汽車使用類似于電動汽車的推進系統,其中以氫氣...
據外國媒體報道,福特為氫燃料內燃機向美國專利商標局提交了一項專利。標準氫動力汽車使用類似于電動汽車的推進系統,其中以氫氣形式存儲的能量通過燃料電池轉化為電能。然而,福特的新專利是針對以氫為燃料的渦輪增壓內燃機。

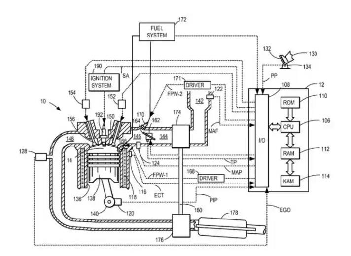
圖片來源:美國專利商標局
據報道,福特內燃機可以在廣泛的空氣/燃料lambda值范圍內運行。就像在標準的現代內燃機中一樣,廢氣再循環(EGR)和氣門將正時用于控制燃燒過程。根據現有信息,發動機的lambda值將超過2.00,這意味著空氣/燃料混合物中至少有68種空氣和1種氫氣。相比之下,汽油發動機可以在0.54lambda和1.25lambda之間變化。
該專利還包括直接向氣缸輸送氫氣的噴射。理論上,通過直接噴射提供氫氣可以比同等汽油發動機產生高達15%的功率。在福特專利中,氫內燃機也被視為混合動力系統的一部分,并在發動機和變速器之間搭載了電動發電機。然而,應該注意的是,該專利只涵蓋了燃燒和控制氫氣混合物的方法,而不是整個發動機。
免責聲明:凡注明來源為“氫啟未來網:xxx(署名)”,除與氫啟未來網簽署內容授權協議的網站外,其他任何網站或者單位未經允許禁止轉載、使用,
違者必究。非本網作品均來自互聯網,轉載目的在于傳遞更多信息,并不代表本網贊同其觀點和對其真實性負責。其他媒體如需轉載,
請與稿件來源方聯系。如有涉及版權問題,可聯系我們直接刪除處理。詳情請點擊下方版權聲明。